|
Вариант исполнения с литым моментным рычагом

Тип |
a |
b |
c |
d |
l
|
Исполнение с тормозом |
iв |
ЕОО8 |
Z008 |
Z015 |
ЕО75 |
|
св |
dв |
св |
dв |
св |
dв |
св |
dв |
|
|
BF80Z-../D08.. |
200 |
202 |
156 |
742 |
115 |
115 |
166 |
817 |
|
|
|
|
|
|
|
|
BF80-../D09.. |
251 |
83.5 |
181 |
675 |
124 |
124 |
192 |
754 |
192 |
768 |
192 |
774 |
|
|
|
|
BF80Z-../D09.. |
251 |
216.5 |
181 |
808 |
124 |
124 |
192 |
887 |
192 |
901 |
192 |
907 |
|
|
|
|
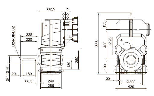
BF80-../D11.. |
319 |
90 |
228 |
750 |
181 |
181 |
|
|
|
|
231 |
852 |
231 |
882 |
|
|
BF80Z-../D11.. |
319 |
223 |
228 |
883 |
181 |
181 |
|
|
|
|
231 |
985 |
231 |
1015 |
|
|
Тип |
а |
b |
c |
d |
l
|
iв |
ЕО75 |
Z075 |
Z100 |
Е500 |
|
св |
dв |
св |
dв |
св |
dв |
св |
dв |
|
|
BF80-../D13.. |
393 |
100 |
266 |
834 |
217 |
217 |
277 |
968 |
277 |
988 |
|
|
|
|
|
|
BF80Z-../D13.. |
393 |
236 |
266 |
970 |
217 |
217 |
277 |
1104 |
277 |
1124 |
|
|
|
|
|
|
BF80-../D16.. |
429 |
114 |
322 |
887 |
243 |
243 |
326 |
1019 |
326 |
1039 |
326 |
1058 |
|
|
|
|
BF80Z-../D16.. |
429 |
250 |
322 |
1020 |
243 |
243 |
326 |
1152 |
326 |
1172 |
326 |
1191 |
|
|
|
|
BF80-../D18.. |
528 |
139 |
368 |
1007 |
288 |
288 |
|
|
|
|
366 |
1188 |
366 |
1168 |
|
|
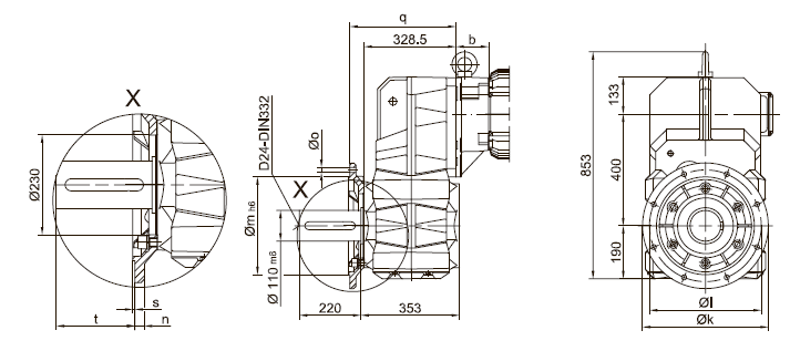
Фланец с резьбовыми отверстиями

Фланец со сквозными отверстиями

BF80(Z) |
k |
l
|
m |
n |
o |
q |
s |
t
|
стандартный -3./ |
450 |
400 |
350 |
22 |
17.5 |
383.5 |
5 |
177 |
большой -4./ |
550 |
500 |
450 |
22 |
17.5 |
388.5 |
5 |
172 |
Лапы с резьбовыми отверстиями слева и справа

|